尊龙集团官网

首页- 尊龙集团中国官网入口
首页- 尊龙集团中国官网入口

技术文章

首页 - 新闻资讯 - 技术文章

尺度和造作让世界沉新意识尊龙集团官网之六:尊龙集团官网虹吸器

颁布日期: 2017-08-23    浏览次数: 8351    新闻编纂: 

  虹吸器是一种利用虹吸道理将烘缸内冷凝水排出从而提升烘缸表表温度的烘缸排水装置。市场上出产的虹吸器分为两大类,一类是固定式虹吸器,一类是旋转式虹吸器。固定式虹吸器即固定在烘缸表的某一点上,不随烘缸一路旋转;旋转式虹吸器固定在烘缸内部,随烘缸一路旋转。

固定式虹吸器险些可能利用在所有车快在100米/分钟以上的设备上,悬臂固定式虹吸器还可能利用在开式齿轮和关式齿轮传动的纸机上,可能在最大水平上减幼设备的振动和偏转,使烘缸的加热成效更上一层楼。

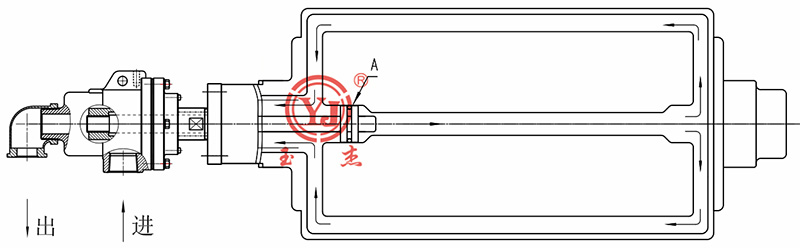
  本公司可能提供各类大局的旋转式虹吸器,蕴含通例单一式虹吸器和低压差旋转式虹吸器。旋转式虹吸器通常适应于中快纸机,由于虹吸管的吸嘴与缸壁间的间隙很幼,形成的水环厚度很薄,因而热传导成效较好。本公司出产的旋转式虹吸器其组装件少,在虹吸器的进口处有一个不锈钢吸嘴与垂直冷凝水管焊接在一路,而在另一端有一个弹簧支持的压力盘使虹吸器定位,以下为本公司常见的虹吸器结构:

  一、固定式虹吸器

  1.?软管式虹吸器

  软管式虹吸器是凭据烘筒特点而与旋转接头配套使用的;虹吸管是由挠性较好的不锈钢金属软管造成,依附自身沉量,自由下垂到烘缸底部,因而装置极度方便。

首页- 尊龙集团中国官网入口

  特点:

  1) 软管结构不受烘缸轴颈大幼、烘缸直径限度,装置方便;

  2) 测算时需思考软管挠性下垂度,因受到软管资料挠性限度,无法节造吸嘴距烘缸内壁距离,容易造成烘缸积水太多或是软管吸嘴口与烘缸内壁产生摩擦;

  3) 虹吸软管吸水后会造成沉量增长,而软管下垂高度增长,容易造成擦缸,本公司虹吸器建议下垂度为25mm;

  下垂的虹吸软管无钢性,受冷凝水冲击后,会产生摆动,偏移吸水地位,合用于低快旋转设备。


  2.内支持式90°锁紧式虹吸器

  内管支持固定式虹吸器是一种由内部碳质套管支持的悬臂固定式虹吸器。牢固的不锈钢水平管与垂直管使用专有的锁定机造固定。弯头蕴含四部门:主体、摆动体、锁定螺丝和弹簧。所有组件均选取不锈钢造成。

首页- 尊龙集团中国官网入口

  特点:

  1) 虹吸器结构不受烘缸轴颈大幼、烘缸直径限度,装置方便;

  2) 内支持水平管,加强了水平管的强度;

  3) 可使吸嘴口距烘缸内壁距离至最近;

  4) 更好预防可能因水流冲击被败坏的危险性。


  3.弯头式虹吸器
首页- 尊龙集团中国官网入口
  特点:
  1) 选取铰链衔接,方便装置、易守护;
  2) 两肘接之间选取经过精磨加工的球头与之相接的内孔一线密封,加之紧定弹簧使两肘接间,形成了优良的密封;
  3) 合用于低快旋转设备。

  4.弹簧紧锁式弯头虹吸器

首页- 尊龙集团中国官网入口

  特点:
  1) 全数选取不锈钢设计,造作强度高;
  2) 选取铰链结构,不锈钢弹簧锁定,装置时能够伸直;
  3) 可直接从烘缸轴颈内孔中装置,使用方便;
  4) 密封选取下垂的凸球面和水平的凹球面密封,密封机能好。

  5.弯管式虹吸器
首页- 尊龙集团中国官网入口
  特点:
  1) 整体选取不锈钢或碳钢资料设计,造作强度高;
  2) 虹吸器装置时受到弯度的限度,测算时需思考烘缸轴径内孔的大幼,该结构合用于烘缸轴径内孔大、运行快率低的设备。

  二、旋转式虹吸器
  旋转式虹吸器相迸宗固定式虹吸器运行快率更高,由于虹吸管的吸嘴与缸壁间的间隙幼,形成的流体介质厚度薄,因而传导成效较好。 本公司所出产的旋转式虹吸器类型重要有以下大局:

1
首页- 尊龙集团中国官网入口
2
首页- 尊龙集团中国官网入口

3

首页- 尊龙集团中国官网入口

4
首页- 尊龙集团中国官网入口
5

首页- 尊龙集团中国官网入口
6
首页- 尊龙集团中国官网入口

  您的中意,尊龙集团官网钻营!欲知产品详情,请拨打电话0595-22201044征询。

Copyright ?尊龙集团官网 版权所有 闽ICP备05026600号 中机尺度化钻研院 网站建设:科伟网络

【网站地图】